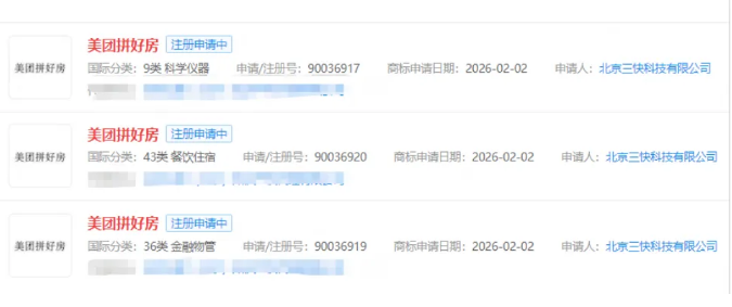
近日,美团关联公司北京三快科技有限公司提交了3件“美团拼好房”商标注册申请,涵盖国际分类中的科学仪器、金融物管和餐饮住宿。目前,这些商标申请正处于实质审查阶段。此消息引发外界关注,被解读为美团或许正在低调入局房地产领域。更有网友们在评论区开起了玩笑。有网友调侃,“前有拼好饭,现有拼好房,美团这是拼上瘾了?”,也有网友表示疑惑,“以后买房也能在美团上凑个团,拼成就能省它个十万八万?”。从名称上看,“拼好房”不免让人联想到美团此前推出的“拼好饭”,这是一款主打高性价比的外卖服务。作为美团外卖的差异化补充,“拼好饭”填补了市场对平价外卖的需求空白,也满足了价格敏感型用户的消费习惯。沿袭相似的命名逻辑,“拼好房”或许同样传递出“高性价比”的信号。不过,截至目前,美团官方尚未透露具体业务规划。但美团入局房产赛道也并非临时起意,而是蓄谋已久的选择。早在2024年,美团旗下美团民宿便已上线租房服务,主要面向旅游出行、考研考公、商务差旅等人群,满足其中短期租房需求。去年12月初,美团APP悄悄上线了“美团找房”功能,涉及租房和二手房业务。该功能未在平台设置显眼入口,仅在用户浏览具体小区信息时触发,同时美团方面也没有进行大范围的宣传,因此只有少部分用户知道这个新功能。而且此前,美团已宣布在全国各地建设“骑手公寓”,有住房需求的骑手可申请入住相关公寓。美团将为骑手提供租房补贴,确保实际月租金始终低于市场水平。目前,在北京、深圳和重庆等地,已有骑手顺利入住。市场分析认为,若美团借“拼好房”切入房产服务,或将依托其强大的本地生活流量基础,尝试打通用户从“住”到“吃”“用”等多场景需求。不过,房产服务属于低频、高决策门槛的行业,美团能否在其中找到突破口,仍需时间验证。如果说“美团找房”功能的推出,是美团涉足房产领域的信号,那么三快公司在今年2月初就已布局“美团拼好房”商标,其意图已更加清晰合理。正所谓“市场未动,商标先行”,美团先行布局商标的这步棋下得很“妙”。一方面,可以防止他人故意抢注商标,筑牢品牌保护防线;另一方面,也能提前借助媒体的报道顺势宣传,提前让消费者对新业务有一个认知。同时,这一布局动作也为大家带来了诸多启示,比如:商标布局需前置:美团在房产业务尚未正式落地前,提前申请商标,体现了“市场未动,商标先行”的战略思维。我国商标注册实行申请在先原则,提前布局能从源头规避抢注、侵权风险,为新业务上线扫清法律障碍。这提醒企业,商标保护应作为战略规划的一部分,而非事后补救措施。品牌保护与多元化发展:完善的商标体系是品牌多元化的基础。美团通过注册不同类别的商标,为未来可能的业务拓展,如智能硬件、房产金融、住宿服务等,预留空间,既守护了品牌完整性,也向市场释放规范发展的信号。企业需意识到,商标不仅是品牌标识,更是支撑多元化发展的法律屏障。流量与场景的延伸价值:其凭借本地生活服务领域的庞大流量,尝试将“拼团”模式从外卖、酒店预订延伸至房产领域,体现了对用户需求场景的深度挖掘。尽管房产交易属于低频、高决策门槛的行业,但美团通过轻资产模式,如合作平台、骑手公寓等,逐步渗透,展示了流量与场景结合的创新潜力。企业可借鉴这种思路,探索自身流量在新领域的应用可能性。知识产权意识的重要性:头部企业的商标布局凸显了知识产权保护的核心地位。在竞争激烈的市场环境中,企业需强化知识产权意识,通过商标、专利、版权等多维度保护,构建竞争壁垒。这不仅是对自身创新成果的保护,也是对市场秩序的维护。业务创新与风险平衡:美团的房产业务布局展现了创新尝试,但也面临房产行业专业性、低频性等挑战。企业需在创新与风险之间找到平衡,通过小步快跑、逐步验证的方式,降低试错成本,同时保持对市场反馈的敏感度。为此,美团的商标布局不仅是对房产业务的预热,更是对企业战略、品牌保护、创新模式等多方面的综合体现,为其他企业提供了宝贵的实践参考。同时,告诫大家商标从来不是事后“补救”的措施,而是前置战略。越早完成商标布局,越能在市场竞争中掌握主动权,避免后期因商标权属不清、被他人抢注而陷入被动、甚至放弃现有品牌的困境。综上所述,对企业而言,商标不仅是品牌标识,更是核心无形资产与市场竞争的重要屏障。及时申请商标注册、做好多类别商标布局,既能锁定品牌归属、保护商誉,也能为业务跨界拓展预留空间,避免因商标权属问题付出更名、维权等高昂成本。此次,美团在房产业务尚未正式落地前,便完成核心类别商标卡位,既守护了品牌完整性,也向市场释放规范发展的信号。这也提醒各类市场主体,唯有坚持商标先行、强化知识产权保护意识,才能在激烈竞争中行稳致远,为企业长期高质量发展筑牢根基。
更有网友们在评论区开起了玩笑。有网友调侃,“前有拼好饭,现有拼好房,美团这是拼上瘾了?”,也有网友表示疑惑,“以后买房也能在美团上凑个团,拼成就能省它个十万八万?”。
如果说“美团找房”功能的推出,是美团涉足房产领域的信号,那么三快公司在今年2月初就已布局“美团拼好房”商标,其意图已更加清晰合理。
正所谓“市场未动,商标先行”,美团先行布局商标的这步棋下得很“妙”。一方面,可以防止他人故意抢注商标,筑牢品牌保护防线;另一方面,也能提前借助媒体的报道顺势宣传,提前让消费者对新业务有一个认知。同时,这一布局动作也为大家带来了诸多启示,比如:
商标布局需前置:美团在房产业务尚未正式落地前,提前申请商标,体现了“市场未动,商标先行”的战略思维。我国商标注册实行申请在先原则,提前布局能从源头规避抢注、侵权风险,为新业务上线扫清法律障碍。这提醒企业,商标保护应作为战略规划的一部分,而非事后补救措施。
品牌保护与多元化发展:完善的商标体系是品牌多元化的基础。美团通过注册不同类别的商标,为未来可能的业务拓展,如智能硬件、房产金融、住宿服务等,预留空间,既守护了品牌完整性,也向市场释放规范发展的信号。企业需意识到,商标不仅是品牌标识,更是支撑多元化发展的法律屏障。
流量与场景的延伸价值:其凭借本地生活服务领域的庞大流量,尝试将“拼团”模式从外卖、酒店预订延伸至房产领域,体现了对用户需求场景的深度挖掘。尽管房产交易属于低频、高决策门槛的行业,但美团通过轻资产模式,如合作平台、骑手公寓等,逐步渗透,展示了流量与场景结合的创新潜力。企业可借鉴这种思路,探索自身流量在新领域的应用可能性。
知识产权意识的重要性:头部企业的商标布局凸显了知识产权保护的核心地位。在竞争激烈的市场环境中,企业需强化知识产权意识,通过商标、专利、版权等多维度保护,构建竞争壁垒。这不仅是对自身创新成果的保护,也是对市场秩序的维护。
业务创新与风险平衡:美团的房产业务布局展现了创新尝试,但也面临房产行业专业性、低频性等挑战。企业需在创新与风险之间找到平衡,通过小步快跑、逐步验证的方式,降低试错成本,同时保持对市场反馈的敏感度。
为此,美团的商标布局不仅是对房产业务的预热,更是对企业战略、品牌保护、创新模式等多方面的综合体现,为其他企业提供了宝贵的实践参考。同时,告诫大家商标从来不是事后“补救”的措施,而是前置战略。越早完成商标布局,越能在市场竞争中掌握主动权,避免后期因商标权属不清、被他人抢注而陷入被动、甚至放弃现有品牌的困境。
综上所述,对企业而言,商标不仅是品牌标识,更是核心无形资产与市场竞争的重要屏障。及时申请商标注册、做好多类别商标布局,既能锁定品牌归属、保护商誉,也能为业务跨界拓展预留空间,避免因商标权属问题付出更名、维权等高昂成本。
此次,美团在房产业务尚未正式落地前,便完成核心类别商标卡位,既守护了品牌完整性,也向市场释放规范发展的信号。这也提醒各类市场主体,唯有坚持商标先行、强化知识产权保护意识,才能在激烈竞争中行稳致远,为企业长期高质量发展筑牢根基。